网站首页
关于我们
资讯动态
返回
公司动态
行业动态
产品中心
返回
测绘仪器专区
三坐标测量机
制样设备
显微镜
人力资源
none
none
网站首页
关于我们
资讯动态
返回
公司动态
行业动态
产品中心
返回
测绘仪器专区
三坐标测量机
制样设备
显微镜
人力资源
资讯动态
公司动态
行业动态
您当前的位置:
首页
>
资讯动态
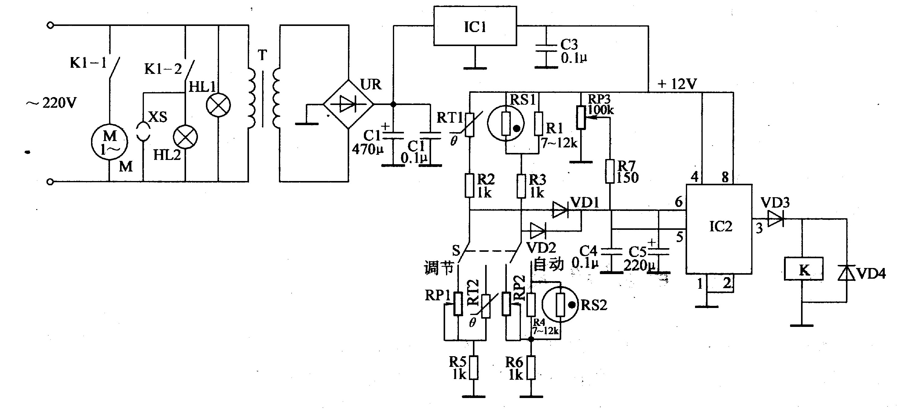
乐动体育温度、湿度自动控制器 一
2023-10-06
LD乐动 乐动体育LD乐动 乐动体育LD乐动 乐动体育本例介绍一款采用555时基集成电路制作的温度、湿度自动控制器,它能根据被监控场所内、外的温度和湿度变化,自动控制排风扇或通风扇或风机的运转与停止,从而保证被监控所的温度和湿度稳定在设定值范围内。该装置可用于粮食仓库、产品库房等场合的温度、湿度控制。 该温度、湿...
关于纳冠电子恒温恒湿储物柜如何储存物料并提供LD乐动 乐动体
2023-10-06
乐动体育 LD体育乐动体育 LD体育电子恒温恒湿储物柜(物料恒温恒湿保存柜)是一款集温控和湿控功能于一体的多功能恒温恒湿储存柜,可对柜内的温湿度做到精确的控制,是恒温恒湿设备中具备存储和控温控湿功能的产品。通过稳定控制柜内温湿度条件来满足贵重物料对储存环境的温湿度要求,从而起到长期安全稳定的储存效果。 而用于存储...
乐动体育 LD体育智能大屏恒温恒湿柜菲林恒温恒湿储藏柜
2023-10-06
乐动体育 LD体育乐动体育 LD体育乐动体育 LD体育随着印刷制板的精度要求越来越高,密度越来越大,菲林尺寸的稳定性就尤为重要了。据某菲林厂家试验测试证明,菲林存放的环境温度和相对湿度是影响菲林尺寸变化的两个主要因素,储存环境温湿度值和菲林适宜储存温湿度值相差越大,其造成的尺寸偏差就越大。 如果对菲林存放环境的温...
LD乐动体育标准养护室全自动控温控湿设备(不全)
2023-10-06
标准养护室全自动控温控湿设备 型号: FHBS 系列 标准养护室全自动控温控湿设备,养护室温控湿设备,养护室温控湿仪产品性能特点 1.控制部分采用智能控制仪表数字显示精度高温湿度全自动控制 2.制冷(热)部分 室外机采用一体式压缩机组 (机组大小可根据养护室内体积选配)设计新颖 美观 结构合理 ...
乐动体育JK-FHBS混凝土养护室控温控湿设备厂家
2023-10-06
四联全自动射流萃取器,便携式烟气分析仪,金属粉末流动性测定仪, 污垢热阻检测仪 当前位置:仪器交易网供应行业专用仪器其他行业专用仪器北京恒奥德仪器仪表有限公司专用仪器仪表 乐动体育 LD体育 乐动体育 LD体育 2、制冷(热)分,室外机采用体式压缩机组,(机组大小可根据养护室内体积选配)设计新颖,美观,结构...
乐动体育控温控湿解冻均匀的低温高湿解冻机设备
2023-10-06
科迈尔解冻机设备,控温控湿的解冻设备,控温控湿的缓化间,控温控湿解冻均匀设备 1.原理是利用低温高湿度循环空气通过冻品表面使其在相对小的温差状态下缓慢解冻.风箱在多个风板下循环吹拂被解冻的产品,产生均匀的气流组织,并且一定湿度可以增加空气中温度的传导介质,通过PLC微电脑全自动分阶段控制解冻的温度,湿度和时间来实...
乐动体育现场动平衡仪
2023-10-05
公司专注于提高轴承拆装、维护工艺,按客户需求个性化**为服务准则,通过多种方式相结合的销售途径来满足国内外用户需求,主要产品有轴承感应加热器、轴承安装工具、高频轴承加热器、齿轮齿圈加热器、轴承感应拆卸器、轴承安装工具、液压拉马、千斤顶、偶合器专用拉马等。 安铂仪器是中诺仪器分立的专门从事设备状态检测仪器生产和推广...
北京空港北光仪乐动体育表有限公司
2023-10-05
乐动体育乐动体育乐动体育主要从事流量计、液物位计、热工实验室校验仪器的研发、生产、销售和服务于一体的仪表制造商。 我公司宣传信息以北京空港北光仪表有限公司官方网站“”登载的信息为准,其它互联网网站,网店上登载的信息均不代表我公司意愿。 北光仪表自主研发的隔爆型带现场显示流量开关产品,二月份接单出口项目共计244...
<<
<
140
141
142
143
144
>
>>